
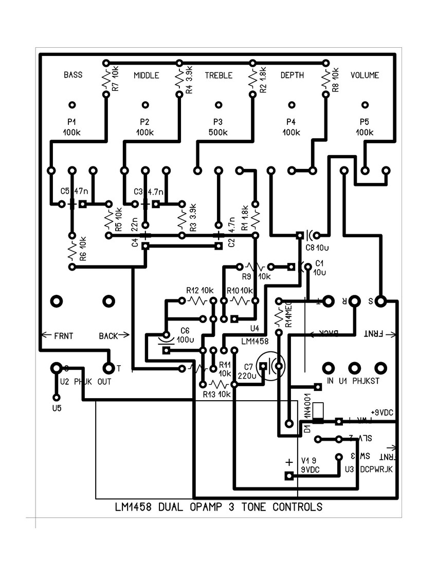
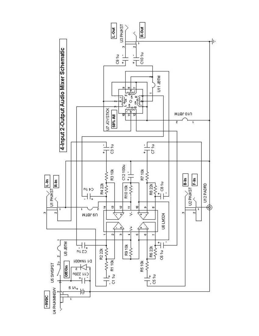
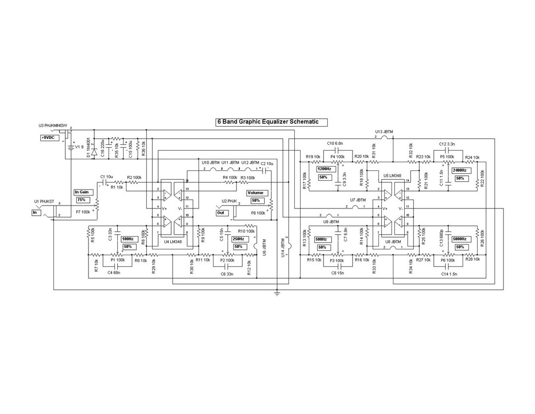
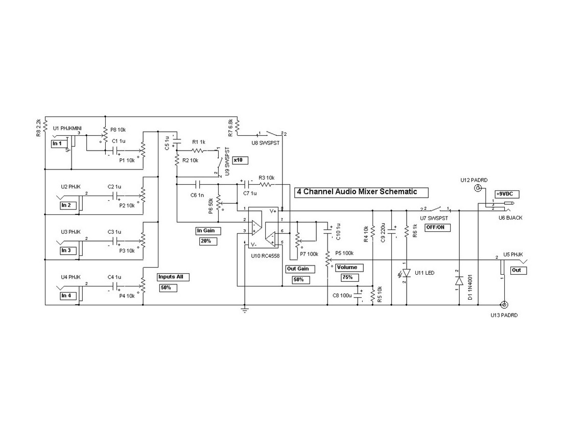
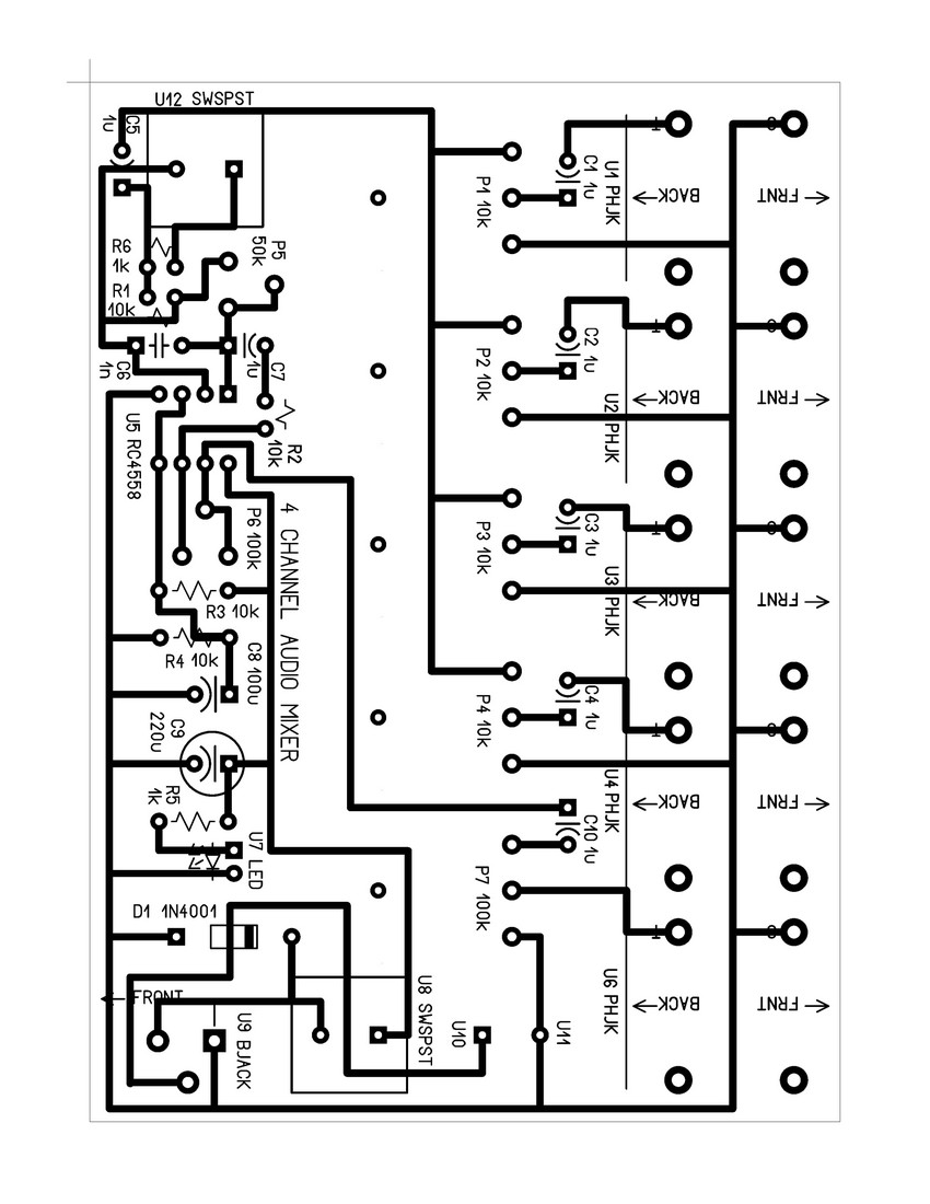
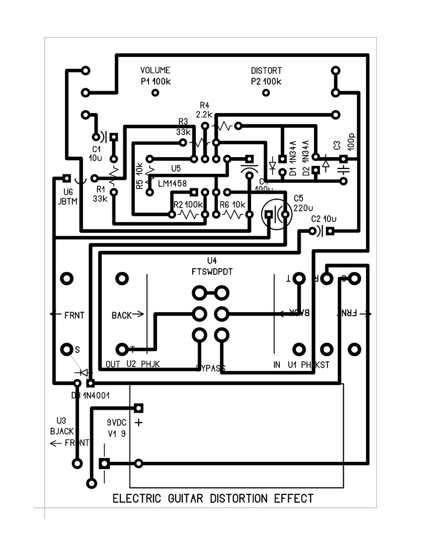
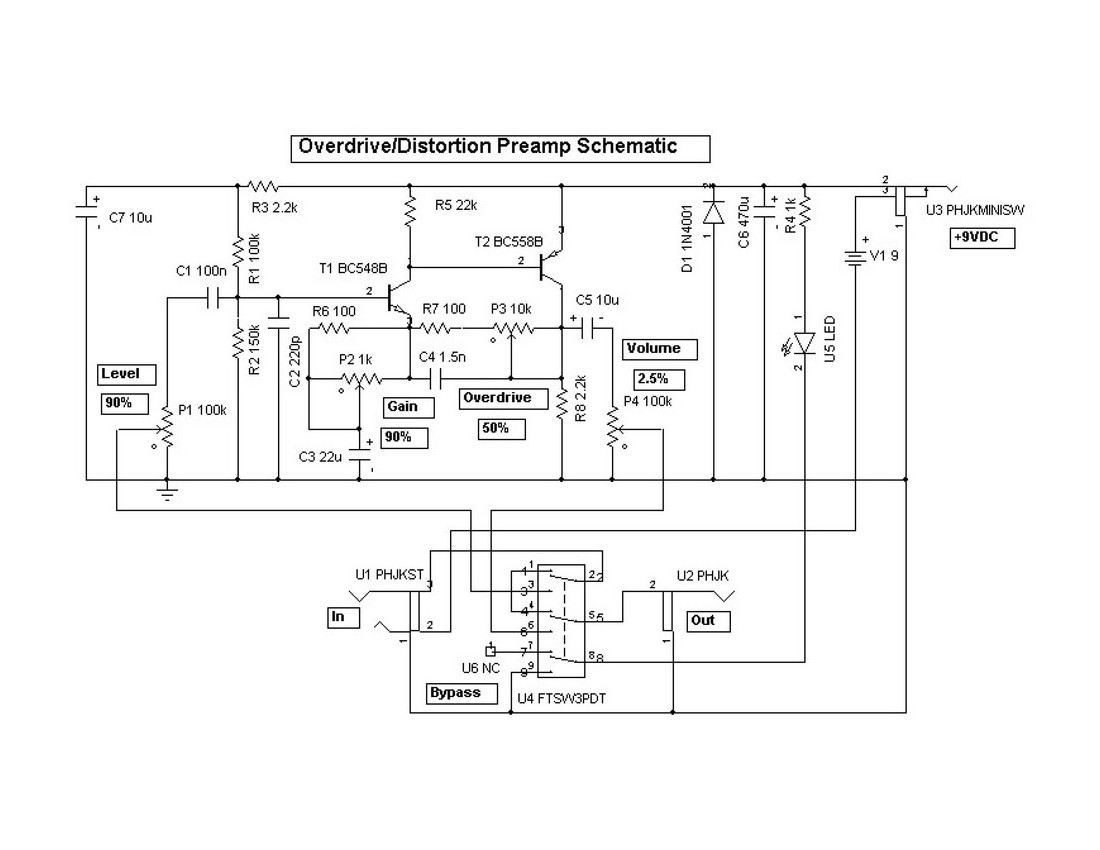
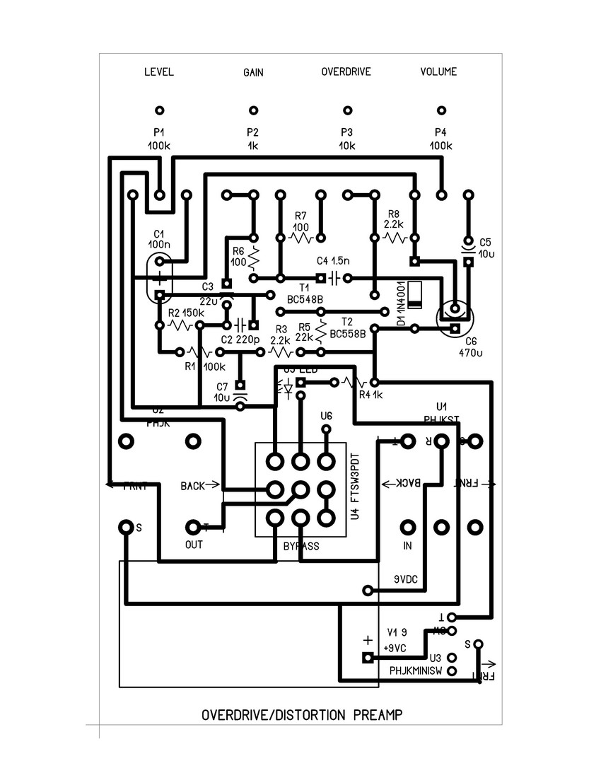
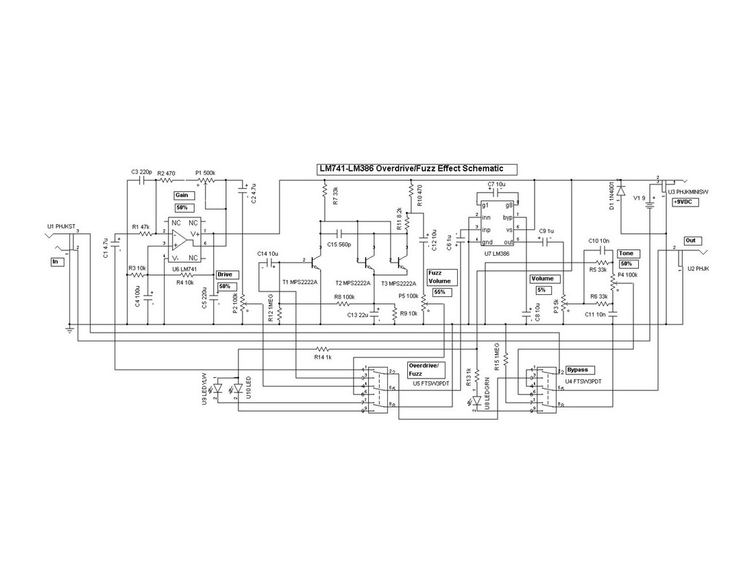
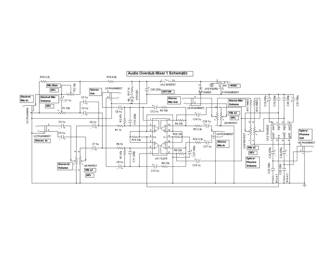
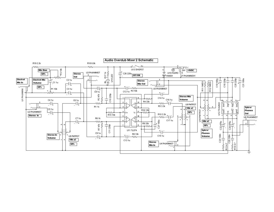
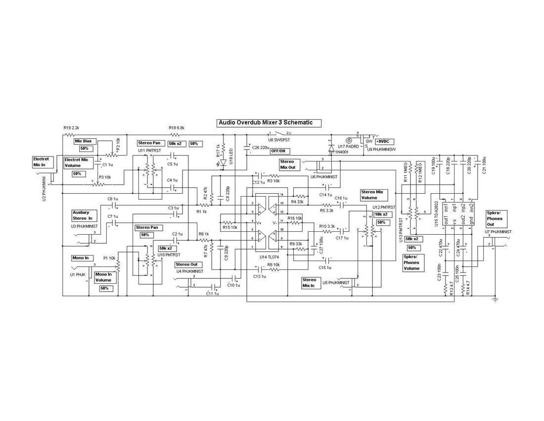
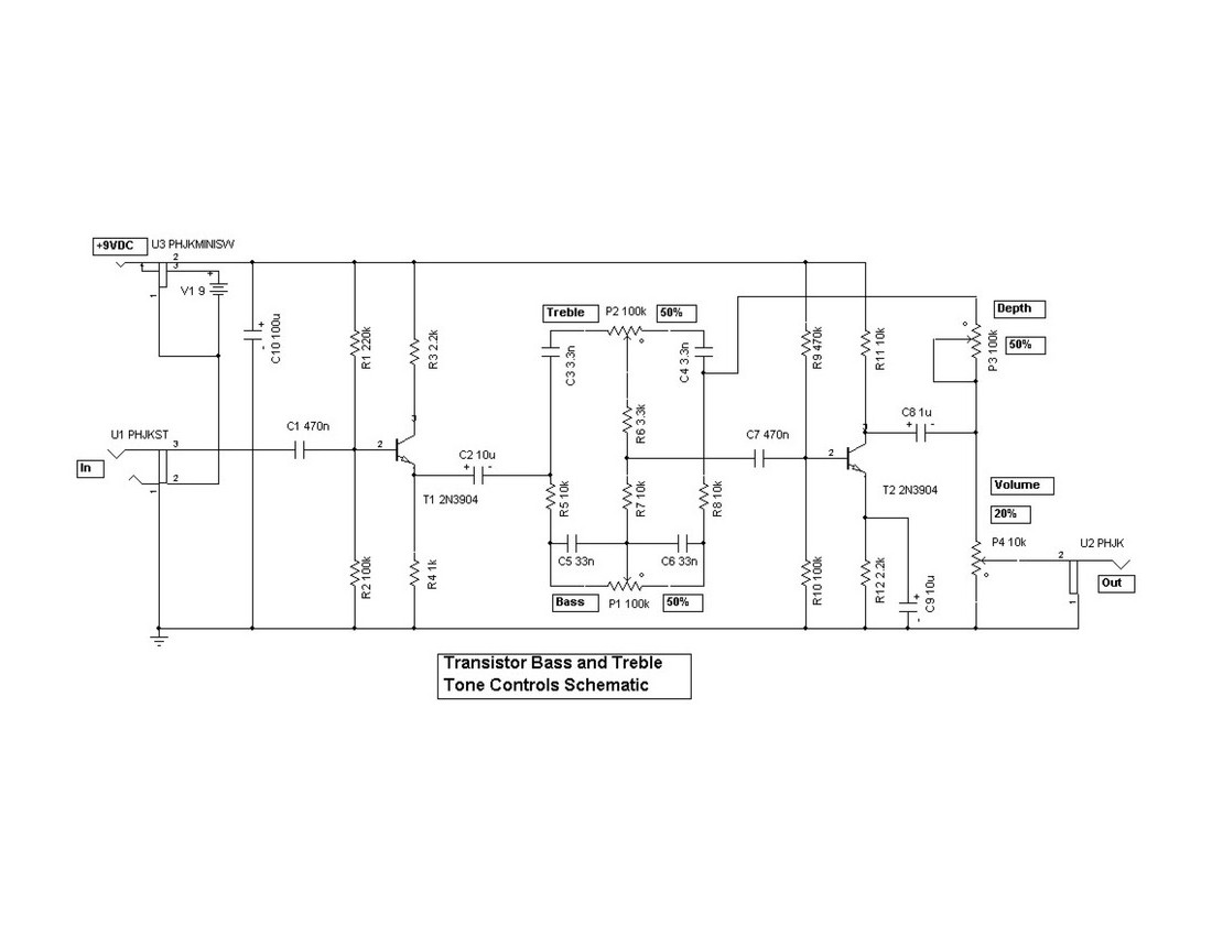
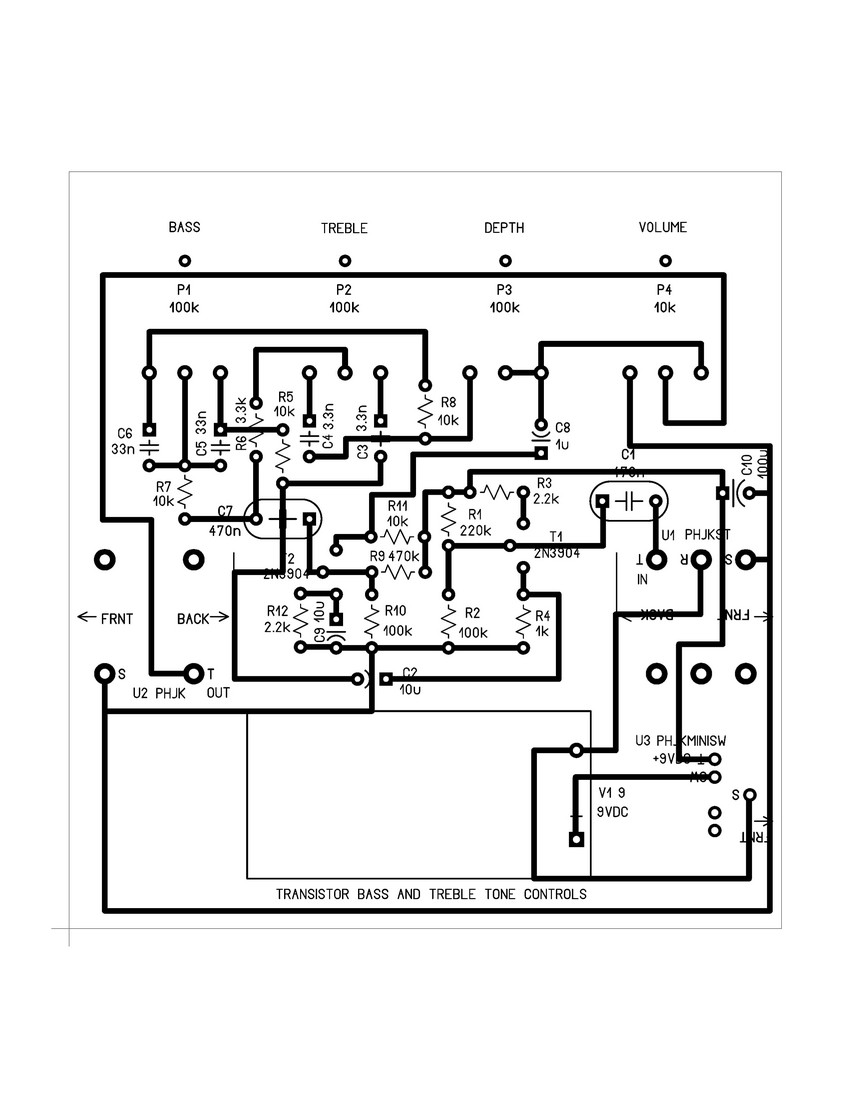
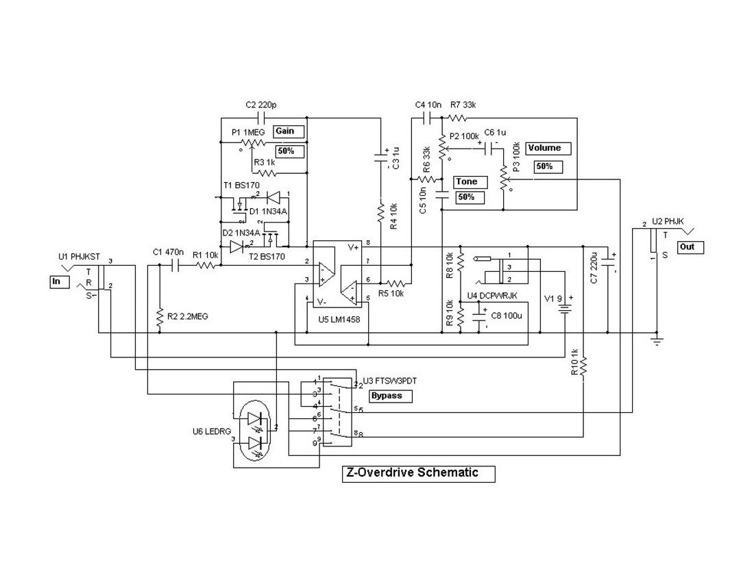
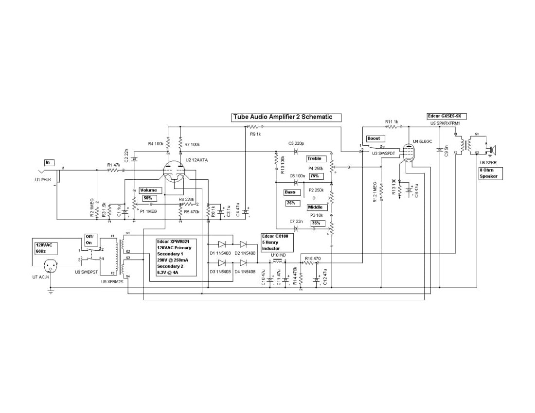
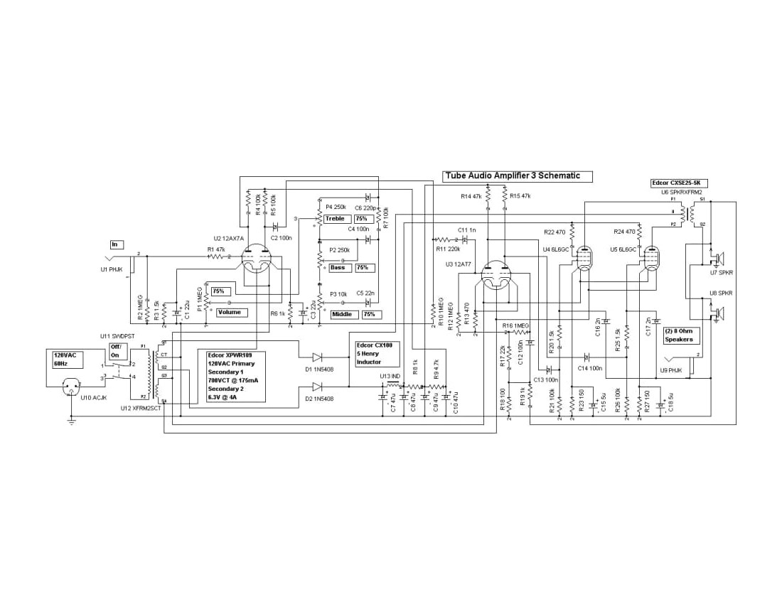
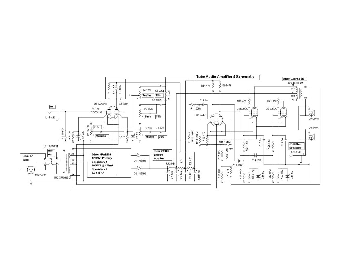
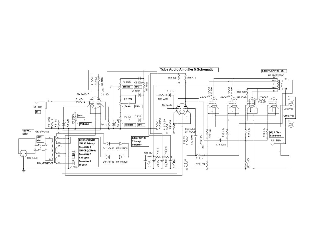
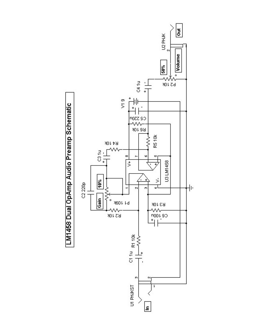
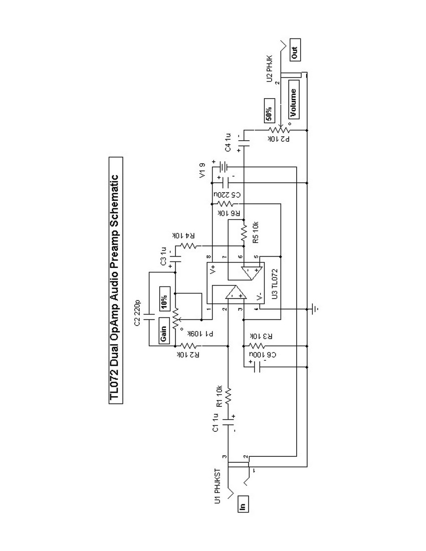
AUDIO PROJECTS




































































































































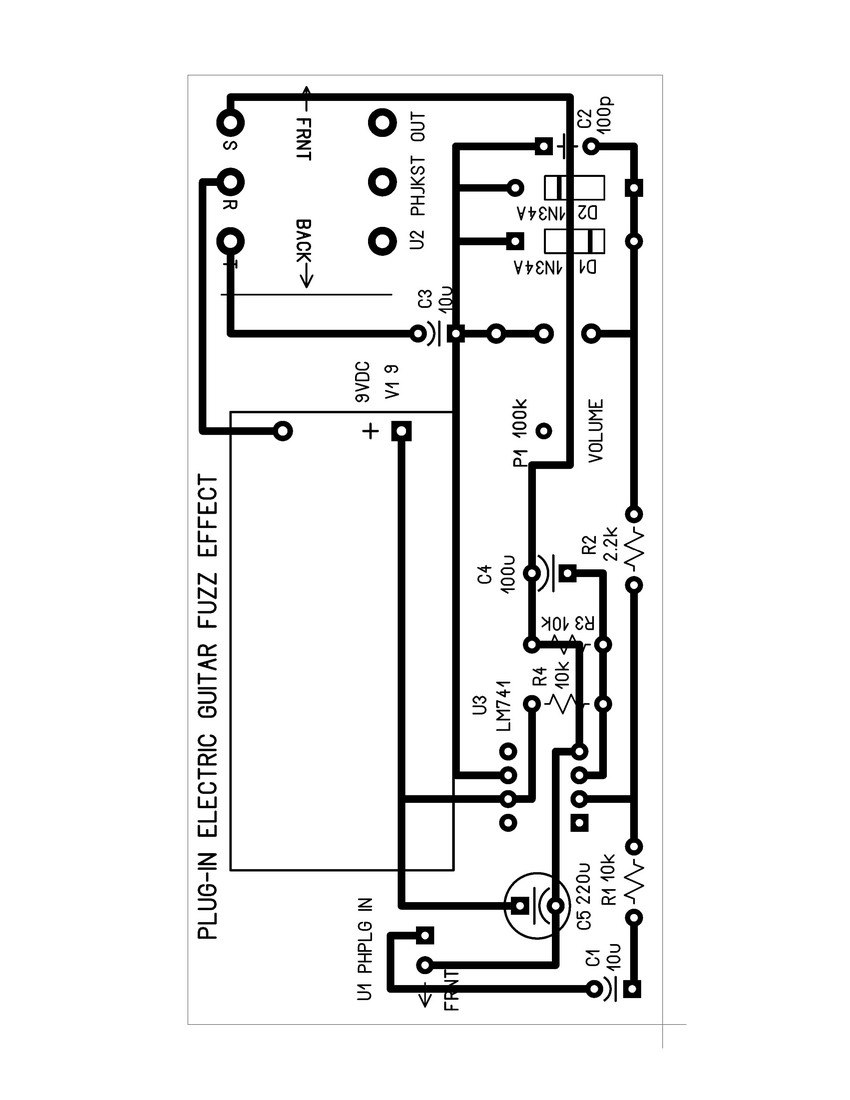
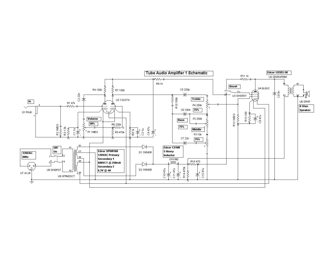
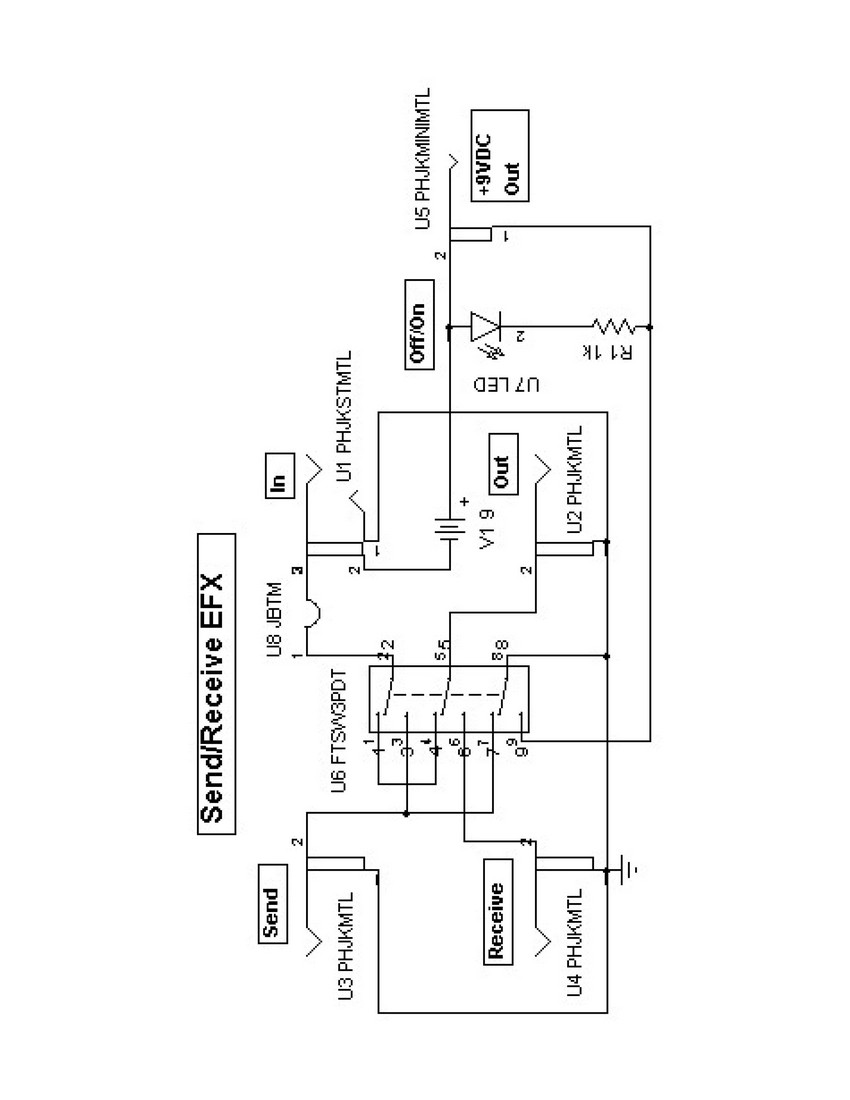
VALVE PROJECTS











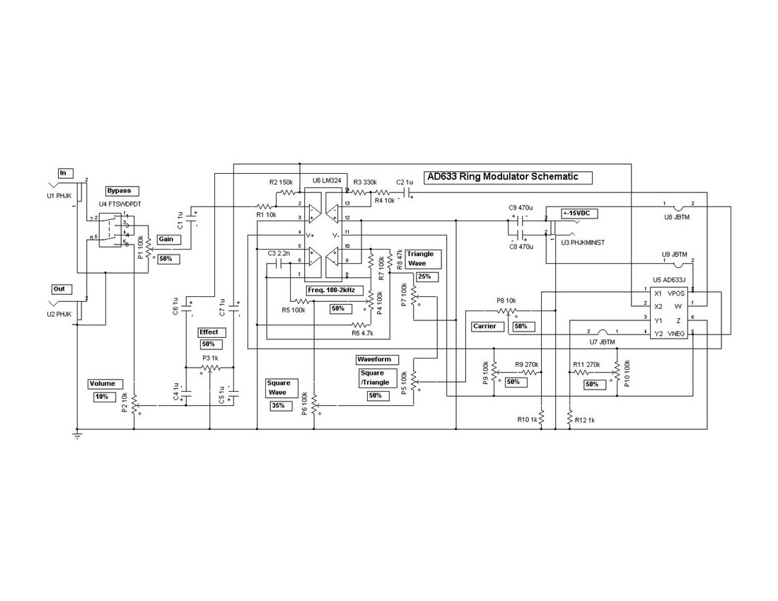
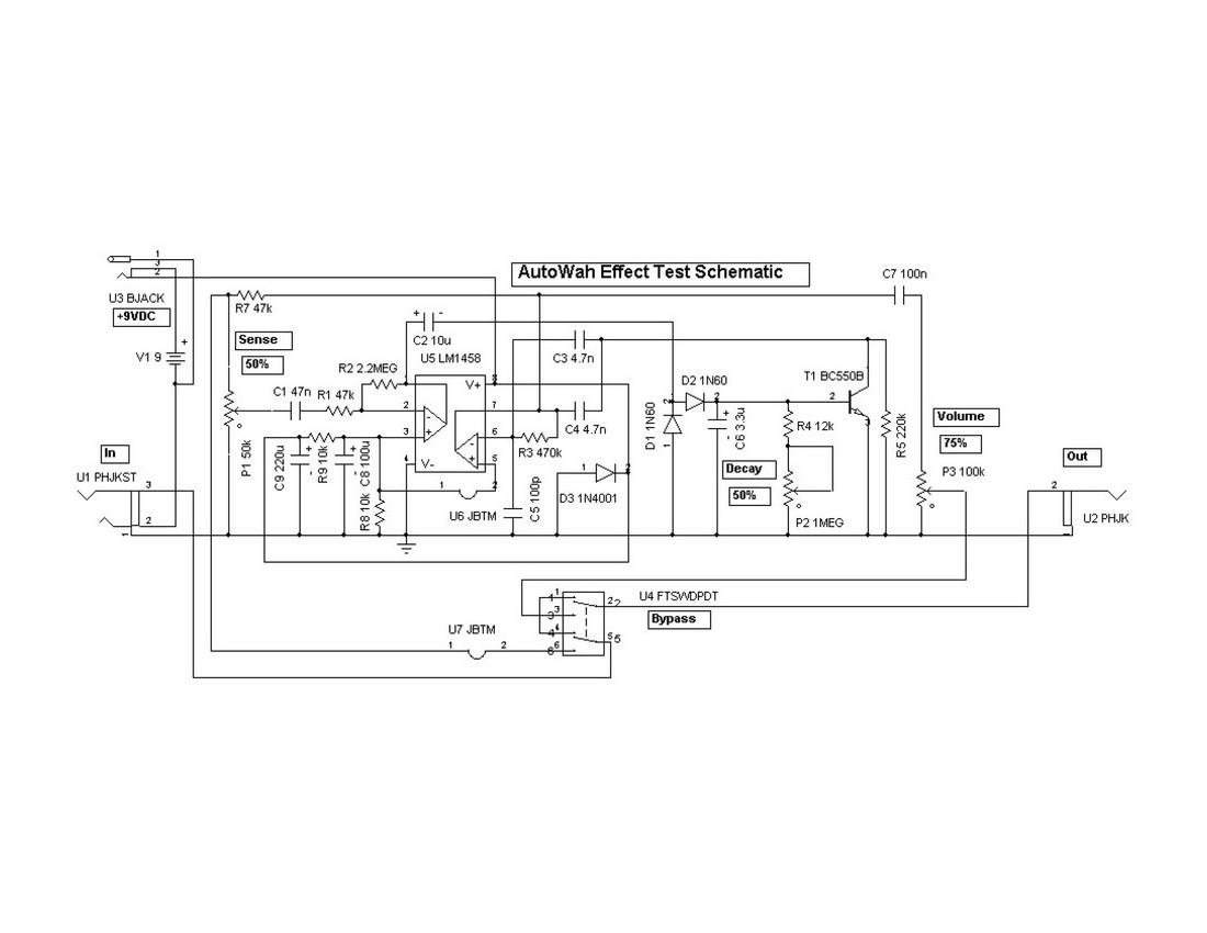
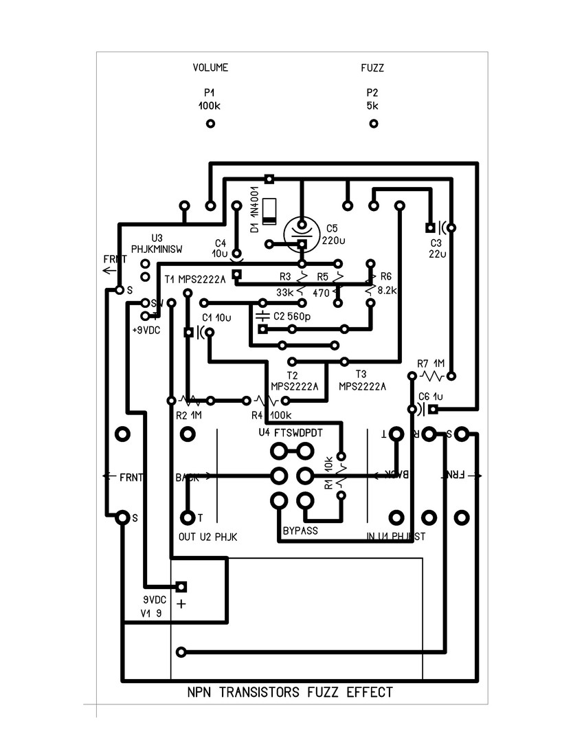
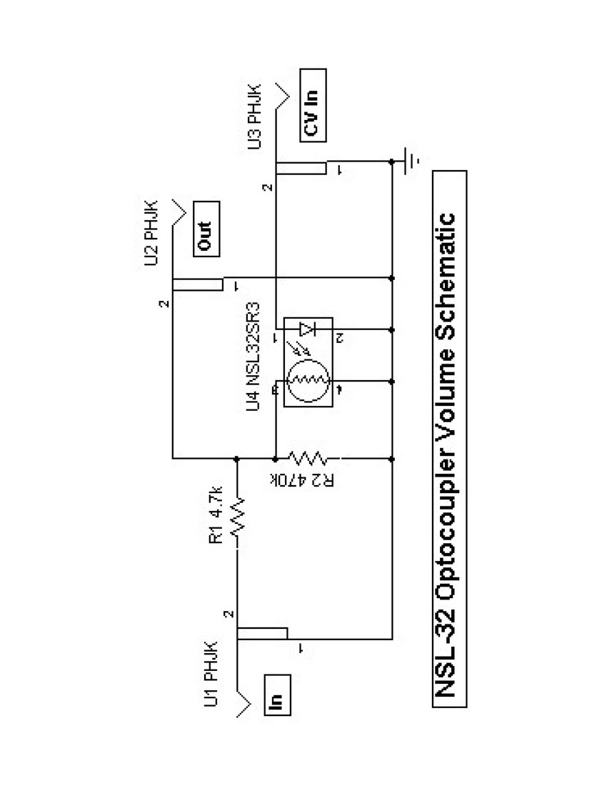
EXPERIMENTAL PROJECTS





















Return to Top